Manufactured by casting or machining, these metal sleeves, often referred to as “grouting sleeves,” are used to connect rebar by transferring force through a cement-based grouting material. Grouting sleeves are categorized by material and processing method into ductile iron (cast) and steel (machined) grouting sleeves, and by structural type into fully grouting sleeves and partially grouting sleeves.
Product Features
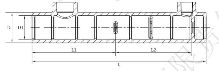
The sleeve is a hollow cylindrical structure, with its length and wall thickness precisely determined by calculation. The sleeve is sturdy and simple, with a high-quality surface and an aesthetically pleasing appearance. It is designed to withstand wear and tear during use. The interior of the sleeve is equipped with reinforcing ribs, guide sills, and rebar stoppers. This unique and scientific construction enhances the mechanical engagement and friction between the grouting material, the rebar, and the sleeve, ensuring the sleeve’s durability while facilitating on-site construction. It ensures alignment of the rebar axis with the sleeve axis during construction, effectively preventing non-standard joints such as eccentric or angled joints, ensuring a safe and reliable joint.
Product Parameters
|
Test items |
Material performance of steel grouting sleeve |
Material performance of cast iron grouting sleeve |
|
Yield strength/MPa |
≥355 |
— |
|
tensile strength/MPa |
≥600 |
≥550 |
|
Elongation at break/% |
≥16 |
≥5 |
|
Spheroidization rate/% |
— |
≥85 |
|
hardness/HBW |
— |
180-250 |
Product Model
|
Product Model |
Outer Diameter D(mm) |
Inner Diameter D1(mm) |
Length L(mm) |
Rebar insertion depth L1(mm) |
Rebar connection thread length L2(mm) |
|
HBQD GTZQ4-32 |
66 |
50-56 |
570 |
256-280 |
276-290 |
Construction Technology and Process

During construction, the sleeve is placed over the connected rebar on one side of the precast component’s joint and embedded within the precast component. During embedment, ensure that the sleeve’s grouting and overflow ports are exposed (extending with PVC pipe if necessary). Use a dedicated rubber plug to seal the gap between the rebar and the sleeve wall, the exposed grouting ports, the overflow ports, and the rebar insertion port on the other end of the sleeve to prevent concrete and wastewater from entering the sleeve during concrete pouring. When fabricating the precast component on the other side of the joint, allow the required overlap length for the connected rebar as per design requirements.
During on-site assembly of the precast component, remove the rubber plug and insert the reserved rebar into the corresponding sleeve joint. Use sealing mortar to seal the joint. After the sealing material has solidified, use specialized equipment to force the mixed sleeve grouting material through the sleeve’s grouting port. Stop grouting once the sleeve is filled with grouting (with grout flowing out of the overflow port). After the prescribed curing period, the rebar connection is complete.
application
The sleeves are complete in variety and various in specifications, and can be widely used for connecting 12~40 steel bars in construction, roads, bridges and other projects. They can be selected according to needs.










